Правила монтажа плит перекрытия на стены из разных материалов
Самым легким способом перекрытия пролётов и установки горизонтальных опор является укладка плит перекрытия. Такие плиты бывают разных видов и каждый из них имеет свои особые характеристики, правила эксплуатации, размеры и формы. Именно благодаря широкому выбору плит перекрытия, ими можно закрыть пролёт любой сложности. Однако обязательно стоит учитывать особые критерии установки плит перекрытия.
Плиты перекрытия: плюсы и минусы
ЖБИ плиты, в первую очередь, предназначены для разграничения этажей и рассеивания нагрузки, которая потом передается на несущие стены и фундамент.
Из-за немалого количества положительных качеств, плиты перекрытия используют как для обычного жилого строительства, так и для возведения промышленных построек.
Чаще всего используются плиты с пустотами, отверстия в которых могут иметь разную форму и диаметр. Изучим основные плюсы пустотных изделий:
- По сравнению с производством монолитных перекрытий затрачивается гораздо меньше средств и труда.
- Высокая прочность достигается за счет армирования изделия. Что нельзя сказать о сборных или деревянных перекрытиях.
- Из-за технологических пустот повышается тепло- и шумоизоляция во всем здании.
- По сравнения с монолитными перекрытиями, которые очень сильно нагружают несущие стены и фундамент здания своим весом, пустотные плиты обладают меньшим весом.
К минусам можно отнести возможность перекрытия пролётов только прямоугольной формы, в остальных же случаях нужно будет прибегать к применению монолитных перекрытий. Так же для установки плит нужно заказывать спецтехнику.
Преимущества стеновых бетонных панелей
Сегодня эти изделия являются неотъемлемой частью строительства. Они появились на рынке чуть больше 50 лет назад, и за это время успели стать востребованными. Они применяются в малоэтажном строительстве и обеспечивают скорость проведения работ, что и является одним из их плюсов. Дополнительным преимуществом является еще и огнеупорность материала.
Стеновые панели из бетона можно эксплуатировать при разных температурных и влажностных режимах, они готовы прослужить длительное время и обеспечивают необходимый для жилых построек уровень теплоизоляции и шумоподавления. Если дом возведен из бетонных стеновых панелей, для владельца квартиры это значит, что стены перед декоративной отделкой нет необходимости дополнительно подготавливать и тщательно выравнивать. Это экономит денежные средства и время.
Какие существуют основные типы ЖБИ плит?
| Назначение | Особенности | Внешний вид |
| ПБ, 3,1ПБ и 1,6ПБ | Плиты 1,6ПБ и 3,1ПБ облегченного типа. Они имеют толщину 160 мм, их используют только в возведении малоэтажных зданий.ПБ имеют обычную для плит перекрытия высоту в 220 мм. Разработка идет на специальных станках, где не применяется опалубка. После застывания, заготовка разрезается на плиты равного размера. | |
| ПНО и ПК | ПНО являются облегченными, их толщина 160 мм, а ПК имеют стандартную высоту 220 мм. Производятся по более старой технологии с применением опалубки, в форму устанавливают армирующую сетку, специальные пустотообразующие конструкции и заливают бетон. Разглаживание производится на специальных вибрастанках. |
Ещё заводы производят специальные плиты, которые используются для строительства в сейсмоактивных районах. Такие плиты называют ребристыми из-за наличия дополнительных ребер жесткости с двух сторон.
Классификация стеновых бетонных панелей
Бетонные стеновые панели можно классифицировать по назначению. Изделия могут использоваться для внешних или внутренних стен.
Классификацию можно провести еще и по количеству слоев. Панели могут быть:
- однослойными;
- двухслойными;
- трехслойными.
У первых присутствует наружная отделка, исключающая негативное воздействие внешней среды. Двухслойные панели хоть и являются сплошными, но состоят из двух элементов – несущего и высокоплотного. Последний предусматривает наличие арматуры. Наиболее распространены в строительстве трехслойные панели, у которых имеется несущий слой; слой, укрепленный арматурой, и слой теплоизоляции или воздушной прослойки.
Бетонные стеновые строительные панели можно классифицировать еще на сплошные и сборные. По статической схеме они подразделяются на:
- самонесущие;
- ненесущие;
- навесные.
Последние характеризуются небольшими размерами и малым весом, тогда как несущие панели предназначены для бескаркасного строительства. В малоэтажном строительстве используются железобетонные изделия, которые отличаются между собой по назначению.
Одни из них предназначены для чердаков, другие для подполья и цоколя, тогда как третьи — для этажей.
Как устанавливают плиты перекрытия на стены их разных материалов?
Очень часто у неопытных строителей возникает сложность, как ставить ЖБИ плиты на несущие конструкции. Все зависит от того материала, из которого выполнялась «коробка» будущего здания. Изучим пару примеров.
Стены из кирпича
При установке ЖБИ плит на сооружения из кирпича или бетона, их можно выкладывать прямо на несущие стены на специальный раствор из песка и цемента толщиной примерно 2 см. Однако нужно учитывать и глубину посадки, для кирпичных стен это 12 см.
Блоки из керамзита: стеновые конструкции
Вопрос, как выкладывать плиты перекрытия на блоки керамзита, является достаточно сложным для строителей. Так как эти блоки имеют не такую прочность как, например, кирпичи, правилами рекомендовано устанавливать пояс из арматуры на несущие конструкции толщиной максимум 20 см, что позволит более равномерно распределять нагрузку.
Естественно плиты устанавливаются только после того, как пояс набрал прочность и способен выдержать ЖБИ плиты. Наилучшая глубина опоры для блоков керамзита составляет 10-15 см.
Газобетонная «коробка»
Как и в случае с блоками из керамзита, для газобетона предусматривается установка армирующего пояса по всей площади несущей конструкции.
В зависимости от слоя армирующего пояса и размеров плит, глубина посадки для газобетона должна быть в пределах 10-17 см.
Стены из поризованных блоков
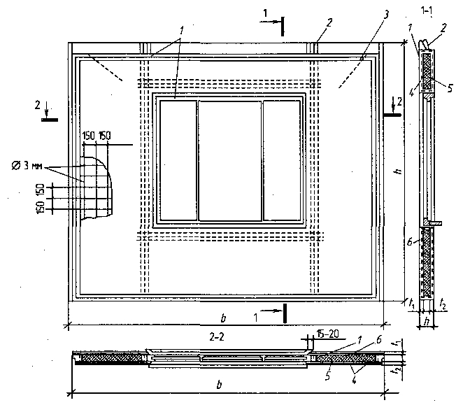
В случае с поризованными блоками плиты перекрытия укладываются на так называемую подушку из 3 сантиметров раствора и армирующей сетки. Диаметр используемой проволоки составляет 4 мм, а ячейки сетки имеют размер 5х5 см.
Есть и ещё способы раскладки. Например, делают прокладку из трёх слоёв полого кирпича, на которые в последствии выкладывают плиты.
Марки бетона
Бетон в основе стеновых панелей может иметь разные характеристики по прочности на сжатие, особенно эти показатели отличаются у легких и тяжелых бетонов.
Однослойные изделия, а точнее их основной слой, может изготавливаться из автоклавного ячеистого или легкого бетона. В первом случае марка варьируется от М25 до М100, во втором — от М50 до М150. Двухслойная сплошная панель, а вернее ее несущий слой, изготавливается из бетона марки М150 и выше. В основе лежит тяжелый бетон. Несущая трехслойная сплошная панель выполняется из бетона марки М100 и выше. Если изделие не должно быть несущим, в его основе бетон марки М75.
Хранение плит на объекте
Для хранения плит на объекте на долгий срок, следует соблюдать следующие правила:
- Если стоит задача хранить большое количество плит, то высота одного штабеля не должна быть больше двух с половиной метров.
- Укладка ЖБИ плит друг на друга без деревянных прокладок строго запрещена.
- Бруски дерева устанавливаются с двух сторон с отступом от края в 20 см между каждой плитой.
- Самая нижняя плита должна укладываться на большой брус, чтобы плита никак не могла контактировать с поверхностью земли.

Качество поверхности
Бетонные панели для малоэтажного строительства должны иметь поверхность, внешний вид которой соответствует требованиям ГОСТ 13015.0. Если изделие будет использоваться для обустройства герметизируемой зоны, на его поверхности недопустимы углубления больше 2 мм, тогда как диаметр раковин не должен превышать 3 мм. Наплывы и впадины не должны иметь глубину или высоту больше 2 мм. На метр длины сколы ребер не должны быть длиннее 30 мм. Их глубина не должна превышать 2 мм.
Правильная опора плит
Мы уже выше описали как нужно укладывать плиты на разные материалы. Однако следует ещё напомнить, что конструкторы должны задать стандартное значение при составлении технического плана. Это значение должно быть равно 12 см.
Как правило, в процессе проектировки возведения несущих конструкций, проектировщики отталкиваются от длины плит перекрытия и отнимают от нее 24 см, что равняется глубине опор с двух сторон. Результатом такой работы является правильная величина упора.
Деление на ячейки
Требуется внимательно отнестись к раскладке плит перекрытия. Чтобы рассчитать это, нужно точно знать площадь перекрываемого пролёта и отталкиваясь от этой информации выбрать плиты подходящего размера.
Максимальная длина железобетонной плиты может составлять до 11 метров, а ширина от 1 до 1,8 метров.
При составлении плана перекрытия, нужно специально отметить отверстия под коммуникации, например, вентиляцию или дымоход. Следовательно, не нужно забывать и про монолитные перекрытия, которые в дальнейшем нужно будет выполнять непосредственно на объекте.
Процесс установки перекрытий
Обычно процесс выкладки состоит из 5 шагов:
- Подготовительный этап — этот процесс начинается после установки армирующего пояса или укладки последнего ряда кирпичей. Нужно отрегулировать высоту конструкций, на которые будут устанавливаться плиты. Это делается для уменьшения сгибания. Производится тщательная подготовка и выравнивание поверхности стен для укладки.
В процессе установки ЖБИ плит на фундамент, нужно удостовериться в надёжности гидроизоляции. - Замешивание раствора — раствор из цемента и песка должен замешиваться в соотношении 1:3 до густой консистенции. Прокладка их раствора выкладывается слоем от 1,5 до 3 сантиметров для плиты. Некоторые мастера, опираясь на свой опыт, могут подготавливать подушку для нескольких плит одновременно. В зависимости от материала несущих стен, укладывается армирующая сетка или пояс их арматуры.
- Установка ЖБИ плит — как правило, процесс укладки начинается с места ближайшего к крану или с мест, где проходит коммуникация.
- Выравнивание плиты — эта процедура производится одновременно с укладкой плиты на несущие стены. Когда плита уже лежит на стене, её нельзя передвигать спустя пару минут и подравнивание осуществляется строго по оси стены с помощью ломов. По окончанию процесса установки, стропы убираются и можно переходить к работе со следующей плитой.
- Анкеровка — процедура подразумевает объединение плит перекрытия между собой стяжками из гибкой арматуры малого сечения.
К стенам плиты стыкуются Г-образным креплением.
Разрезание плит
В некоторых случаях невозможно уложить цельную плиту на участок или просто нужно сделать технологическое отверстие для прокладки коммуникаций. Именно в таких случаях используют технологию резки ЖБИ плит. Однако стоит отметить, что резка такого типа изделий является крайне травмоопасной затеей. Плюс это приводит к ухудшению качеств плиты, в частности, заявленной прочности. Рекомендуется заказывать эту процедуру у завода-изготовителя или у профессионалов.
Естественно случаются ситуации, когда разрезать плиту нужно быстро и прямо на месте, в таком случае нужно запастись болгаркой для резки бетона и автогеном для распиливания арматуры.
Обязательно соблюдайте последовательность действий:
- Нанести разметку.
- Найти жесткую подложку по форме плиты и положить плиту на неё.
- По ранее расчерченным линиям сделать надрез при помощи болгарки.
- Вырезанный материал выбить при помощи кувалды, начинать следует с пустотных участков, так будет легче.

- Очень аккуратно обрезать арматуру автогеном, чтобы металл не потерял связи с бетоном.
- Далее нужно заполнить пустоты в плите раствором со свойством саморасширения.
Наименование стеновых плит
По наименованию бетонных стеновых панелей для малоэтажного строительства можно понять, для каких целей предназначены изделия. Например, в продаже можно встретить плиты для возведения надземных этажей. Они являются однослойными и маркируются как 1НЦ.
Увидев в названии количество слоев, следует обратить внимание еще и на то, является изделие цельным или составным. Так, если взглянуть на маркировку и увидеть обозначение 3НЦ, можно понять, что перед потребителем трехслойные цельные плиты для надземного строительства.
Заполнения стыков между плит и пустот в них
Бывалые строители настоятельно рекомендуют замазывать стыки между плитами и отверстия пустот. Эта процедура выполняется уже привычным раствором из песка и цемента.
Существует несколько способов как замазать стыки между плитами.
Это зависит от ширины зазора:
- Недостатки перекрытий и большие зазоры — заполняются с применением технологии монолитной заливки с армированием.
- Средний размер шва — зазор от 2 сантиметров, заливается бетоном высокой твердости и прокладывается продольная арматура.
- Мелкий зазор — имеет ширину до 2 см, заполняется цементом.
Лайфхаки и сложности, с которыми можно столкнуться
Для укладки плиты на стену из кирпича, последний её слой должен быть тычковым. Армирующий пояс может возводиться с использованием самодельной опалубки.
Заполнение пустот раствором требуется только на тех участках, которые будут выходит наружу здания, это защищает конструкцию от сильного промерзания. Монтаж отверстий под коммуникации нужно делать ещё на земле, когда к плитам есть свободный доступ, иначе это может стать проблемой.
Нужно заранее подготовить площадку для крана. Если почва на месте стройки рыхлая и рассыпчатая, то это точно приведет к сложностям.
Нельзя использовать краны рядом с подвалами, из-за нагрузки на грунт может обломиться плита. Для этого нужно пользоваться техникой с длинной стрелой.
Если вам необходимо заказать плиты перекрытия, то следует обратиться в IS GROUP. Мы готовы предоставить различные конструкции, в любой регион страны. У нас вы сможете найти различные дорожные плиты, аэродромные плиты блоки ФБС, СВАИ, плиты перекрытия и многие другие плиты ЖБИ. Доставка осуществляется железнодорожным транспортом. Если в вашем городе нет компании, которая может обеспечить вас строительными материалами, то обязательно обратитесь к нам по телефону +7 (495) 175 23 21.
Панели стеновые железобетонные наружные и внутренние, размеры по ГОСТ, цены
Автор Георгий Русиев На чтение 5 мин Просмотров 436 Опубликовано
В сфере строительства железобетонные изделия являются наиболее используемой продукцией.
Некоторые образцы готовятся непосредственно на площадке, но в основном подобные конструкции производятся промышленным способом. Применение готовых панелей значительно сокращает сроки проведения работ и гарантирует точное выполнение всех требований, оговоренных в проектной документации.
Оглавление:
- Описание разновидностей ЖБИ
- Особенности, размеры и маркировка
- Цена панелей
Технические условия и изготовление регламентируются ГОСТ в зависимости от предназначения и особенностей технологии: для внешних стен – № 12504 от 1980 года, внутренних – 11024 от 1984 года, продукция с утеплителем, трехслойная – 31310 от 2005 года. Есть и ряд других документов – СНиП, ТУ предприятий и так далее.
Классификация стеновых панелей
Подразделение на определенные группы условно, но оно дает более полное представление о специфике применения конкретных образцов. Все они различаются по нескольким «параметрам».
1. По реализованному инженерному решению.
- Составные (сборные).
- Монолитные.
В свою очередь, они могут быть:
- трехслойные – представляют собой железобетонные ребристые панели с прослойкой из утеплителя;
- двухслойные (теплоизолятор + бетон с армированием). Утеплитель фиксируется на внутренней грани. Наиболее распространенные – плиты из минеральных ват, слой пенобетона или пеностекла, которые сверху накрываются цементной стяжкой;
- железобетонные однослойные панели с бетоном только одной марки. Как правило, относящийся к категории «легкий» или «особо легкий». Причем в качестве заполнителя в растворах могут использоваться различные материалы – керамзит, аглопорит, шлак и некоторые другие. Их особенность в том, что одна грань обработана специальным цементом, что облегчает производство «финишной» отделки. В процессе монтажа панель помещается с расчетом, чтобы эта ее сторона «смотрела» внутрь строения.
2. По устойчивости к нагрузке.
- Ненесущие.
- Самонесущие.

- Несущие.
- Поэтажно несущие.
3. По специфике применения.
- Строения жилые, административные или общественные.
- Инженерные сооружения.
- Стеновые панели для промышленных зданий.
- Чердачные помещения.
- Цокольные (технические) этажи.
- Для установки внутри или по периметру (внешние).
4. По структуре.
- Пустотелые или сплошные.
- Из одного или нескольких видов бетона.
Все перечисленные отличия являются основными. Но есть и другие, которые связаны со спецификой использования или некоторыми дополнительными характеристиками стеновых железобетонных изделий. Образцы различаются марками бетонов (от легких до тяжелых), вяжущим (гипс, цемент), видом армирования, а также рядом других параметров (сорт металла, его подготовка, расположение закладных и так далее).
Ассортимент настолько обширный, что перечислять все разновидности нет смысла. Тем более что производители выпускают конструкции, как правило, под определенный заказ и ориентируются на ТУ, которые предоставляет покупатель.
Например, с уже вмонтированными блоками (оконными, дверными) или с подготовленными под определенный размер проемами.
1. Хорошая несущая способность и повышенная прочность.
2. Быстрый монтаж. Все стеновые железобетонные панели отличаются строгой геометрией и точным совпадением мест расположения крепежных элементов («закладных»).
3. Использование многослойных изделий позволяет экономить время и материалы на тепло- и шумоизоляции строений.
4. Устойчивость к термическому воздействию, агрессивным средам, колебаниям температуры.
5. Предварительная подготовка основы для «финишной» отделки не требуется, так как отличаются ровностью граней.
6. Возможность применения при возведении конструкций любого предназначения.
Габариты
Они зависят от нескольких параметров: разрезки стены (однорядная, полосовая, комбинированная), вида панели (в том числе подоконная, простеночная) и привязаны к модулю кратности «М».
Для внешних стен:
- длина – от 300 до 8 400;
- высота – от 600 до 8 400;
- толщина (для комбинированной разрезки) – от 200 до 400.
Для внутренних:
- длина – от 1 200 до 7 500;
- высота – от 2 800 до 4 200;
- толщина – от 60 до 300.
Маркировка
1. ЖБИ стеновые наружные панели.
Первая позиция – цифра. Особенность технологии изготовления:
- от 1 до 3 – цельная;
- от 4 до 6 – составная.
Вторая – буква. Вид стеновой железобетонной панели: Н – наружная.
Третья позиция. Специфика применения:
- С – для стен;
- Ц – технические (цокольные) этажи;
- Ч – (чердачные помещения).
Далее идут группы цифр, которые дают сведения о характеристиках панели. Линейные параметры округляются до целого значения, при этом длина, высота обозначаются в «дм», толщина – в «см».
Последняя группа – также буквы. Они дают представление о некоторых конструктивных особенностях стенового железобетонного изделия (расположении и конфигурации проемов, торцевых зон, арматурных выпусков и тому подобное).
2. Панели ж/б внутренние.
Здесь обозначение несколько иное. Отметим только различия.
Вторая буква:
- С – для несущих изделий.
- Г – для ненесущих.
Третья:
- В – стены.
- П – подвальные (технические) этажи.
Четвертая: имеется в обозначении только составных железобетонных панелей – С.
Примерная стоимость
Точные цифры назвать трудно. И дело не только в большом ассортименте, но и в особенностях технологии изготовления, Учитывается марка бетона, тип армирования (сетка или каркас) и ряд других показателей. Поэтому на сайтах производителей вместо прайс-листов размещен калькулятор, при помощи которого можно рассчитать примерную стоимость панели только после ввода исходных данных. А если и есть перечень продукции, то для уточнения цены на образец предлагается сделать звонок по указанному номеру.
Чтобы иметь общее представление о цене железобетонных панелей, можно ориентироваться на такие усредненные (и весьма приблизительные) цифры (руб/м2):
- однослойные – от 3 100;
- двухслойные – от 3 650;
- трехслойные – от 4 850.

Покупка стеновых жби панелей б/у обойдется дешевле, поскольку цена зависит от степени износа. Но учитывая специфику производства изделий, специалисты не советуют использовать их на ответственных участках. Даже профессионалу, обнаружившему признаки скрытого дефекта, понадобится специальное оборудование, чтобы провести полную диагностику и дать рекомендации по дальнейшему применению панели.
Стеновые железобетонные панели: ГОСТ, монтаж на видео
Привычный и распространенный строительный материал — стеновые железобетонные панели. Широко используются как для жилищного строительства, так и для возведения промышленных объектов. Особо популярны технологии панельного домостроения были в 70-е и 80-е годы, когда во многих городах появлялись целые районы панельных многоэтажек.
Выбираем стеновые панели
Основная причина востребованности панельного домостроения – скорость возведения конструкций: ЖБИ изделия представляют собой крупного размера панели, иногда стену целиком.
Технология панельного домостроения называется индустриальным методом строительства. Все изделия стандартизированы ГОСТ, что облегчает монтаж.
В современном строительстве чаще стали применять другие методы строительства – к примеру, возведение монолитного каркаса здания с последующим заполнением фасадных стен более легкими материалами (газобетон, блоки из других материалов). Возможно, это связано с тем, что экономическая и политическая ситуация в России привела к массовому закрытию промышленных предприятий, в том числе, и заводов по производству ЖБИ. Вторая причина – технические требования к оборудованию строительной площадки для возведения конструкций из железобетона: наличие достаточных проездов для панелевозов, башенных кранов с большой грузоподъемностью, необходимых для монтажа, и пр.
Страничка истории
Впервые технология строительства с применением крупноформатных армированных панелей из бетона была применена в Америке, при строительстве Форест-Хилс Гарденс в 1910 году.
В Европе подобная технология известна под названием системы Аттербери. Имя методу дал архитектор Гросвенор Аттербери.
Широкомасштабное использование унифицированных большеразмерных изделий при строительстве получило с урбанизацией и необходимостью сокращения сроков при массовой застройке. Новый взгляд на архитектуру, сформулированный Ле-Корбюзье потребовал новых материалов, таких как стекло, металл, бетон. Проблема восстановления городов после Второй Мировой войны также отлично решалась применением быстровозводимых зданий из стеновых железобетонных панелей. Концепция строительства для типовой массовой застройки, разработанная Ле-Корбюзье, повышает эффективность процесса возведения зданий и широко использовалась и продолжает использоваться во всем мире. В Советском Союзе отцом индустриального метода строительства считается архитектор В.И.Светличный.
Технология изготовления изделий из железобетона
Крупноформатные изделия из железобетона производятся в заводских условиях.
В зависимости от назначения, панели выпускаются разных размеров. При производстве применяются различные марки бетона и способы армирования. ЖБИ изделия различаются способом армирования:
- обычное армирование;
- предварительно напряженное;
Выпускаются плиты для использования в качестве наружных стен и для внутренних перегородок. ГОСТ 11024–84 определяет стандарты для внутренних панелей, а ГОСТ 12504–80 описывает наружные. Для изготовления используются бетоны различных марок:
- особо тяжелые;
- тяжелые;
- легкие;
- особо легкие;
Наиболее распространенные размеры панелей, применяемых для жилищного строительства 600х120 и 1200х180 см. Стеновые плиты, используемые для зданий промышленного назначения, производятся размерами в 600, 900 и 1200 см. Для формирования дверных и оконных проемов выпускаются изделия меньших форматов – для простенков. ГОСТ 130-15.4—84 регламентирует размеры стандартных изделий. Пустотелая сборная железобетонная панель применяется для устройства перекрытий.
Помимо использования ЖБИ заводского изготовления в некоторых случаях применяют изделия, изготовленные непосредственно на строительной площадке.
Панельное домостроение – новый взгляд
Однако новые способы строительства не вытеснили быстровозводимых строений из ЖБИ изделий. Новые требования, выдвигаемые строительной индустрией, воплощаются в новые стандарты для производства стеновых железобетонных плит. Производители уже не привязывают размеры железобетонных панелей к определенным нормам: изделия ЖБИ используются не только в многоэтажном жилом строительстве. Все чаще их применяют для строительства многоквартирных домов малой этажности, и даже для возведения частных коттеджей.
Разработаны двух и трехслойные железобетонные панели, в которых помимо несущей части используются слой теплоизоляции. Трехслойные панели представляют собой «сэндвич», в котором внутренняя и наружная часть делается из железобетона, а внутренняя – из утеплителя (минеральная вата, пеносиликат, фибролит, и др.
). Наружная и внутренняя части трехслойных плит связаны между собой армированием и закладными деталями. Существуют варианты изделий с уже готовой внешней отделкой панелей. Толщина стеновых плит зависит от назначения и конструкции плиты.
Размеры плит, имеющих слой утеплителя, зависят от толщины теплоизоляционного слоя, который подбирается в зависимости от климата места строительства.
Технология возведения зданий из железобетонных плит
Производимые стеновые плиты имеют довольно значительные размеры и вес, поэтому для их перевозки требуется специальный транспорт. Специальной техникой осуществляется и монтаж железобетонных панелей.
Существуют бескаркасные и каркасные методы возведения панельных зданий. Для монтажа плит ЖБИ по каркасной технологии используются сварные и железобетонные каркасы. Сначала устанавливаются панели ограждения железобетонные, расположенные на дальнем конце от установленного крана, затем внутренние перегородки, потом ограждающие конструкции со стороны крана.
- по имеющимся на перекрытиях отметкам;
- по технологии фиксированного монтажа: выставляют продольную и поперечную панели, их жестко фиксируют, а относительно выставленных элементов производят монтаж остальных;
- замковый способ – плиты скрепляются специальными монтажными элементами, заделанными в панель при изготовлении;
При возведении панельных строений особое внимание нужно уделять герметизации межпанельных швов и устранению мостиков холода.
Крупнопанельная технология строительства позволяет в сжатые сроки возводить капитальные постройки, имеющие длительный срок использования, высокие эксплуатационные качества. Эти особенности влияют на выбор технологии как застройщиков, так и заказчиков. А постоянное совершенствование процесса изготовления ЖБИ позволяет оптимизировать строительные расходы.
Проект железобетонной стены
🕑 Время чтения: 1 минута
Железобетонная стена спроектирована как сжимаемый элемент.
Железобетонная стена используется в том случае, когда балка не предусмотрена и нагрузка от плиты велика или когда толщина кладки ограничена. Железобетонная стена классифицируется как:
- Гладкая бетонная стена, если армирование < 0,4%
- Железобетонная стена, когда армирование > 0,4%
Нагрузка от плиты передается на стену в виде осевой нагрузки. Когда глубина большая, это называется стеной RC. Конструкция аналогична железобетонной колонне, ширина равна толщине стены, а глубина равна 1 м. Стена ЖБИ спроектирована как:
- Стена с осевой нагрузкой
- Осевая нагрузка с одноосным изгибом
Состав:
- Классификация бетонных стен
- Армированные и неармированные бетонные стены
- Руководство по проектированию железобетонных стен
- 6. Детализация армирования [Рекомендации IS 456]:
- 7. Детализация армирования (директивы BS 8110):
- Условия опоры для эффективной длины стены:
В гладкой бетонной стене предусмотренная арматура составляет менее 0,4% c/s.
В железобетонной стене процентное содержание стали превышает 0,4%, и она спроектирована аналогично железобетонным колоннам. Коэффициент гибкости равен наименьшему из (l/t или h/t), где l — эффективная длина стены, h — эффективная высота стены, t — толщина стены. Если < 12, стена короткая, а если > 12, стенка тонкая.
Раскосные: если для стен предусмотрены поперечные стенки, которые могут выдерживать боковую нагрузку и 2,5% вертикальной нагрузки, тогда стена раскрепляется. В противном случае стена называется нераскрепленной стеной. Примечание: Другие стены под особыми случаями, i) Консольная стена ii) Стены сдвига – чтобы воспринимать боковые нагрузки [Учитывайте изгиб, возникающий из-за боковой нагрузки на конструкцию, глубина указывается в поперечном направлении]
Руководство по проектированию железобетонных стен 1.
Предельная гибкость () если таковая имеется для нераскрепленной стены 30 и у раскрепленной стены 45. 2. Для коротких железобетонных стен (< 12),
P u = 0,4 x f ck x A c + 0,67 x f y x A
03 9 st 9 3. Для короткой железобетонной стены , наряду с вышеуказанной осевой нагрузкой P u проверяется момент от минимального эксцентриситета для e мин = t/20 или 20 мм, где M = P x e. Для указанной выше осевой нагрузки и момента железобетонная стена спроектирована аналогично железобетонной колонне, подвергаемой осевой нагрузке и одноосному моменту. 4. Тонкая раскосная стена (< 45): Учитывается дополнительный момент от дополнительного эксцентриситета по таблице 1 СП16. Где дополнительный эксцентриситет, К дополнительному моменту от эксцентриситета добавляется момент на колонну и момент на стену. Стена рассчитана на осевую нагрузку с одноосным моментом.
5. На тонкая нераскрепленная стена [ограничено 30]: применяется процедура, аналогичная случаю 4.6. Детализация арматуры [Рекомендации IS 456]:
- Для гладкой бетонной стены минимальное количество вертикальной стали составляет 0,12 % для стержней HYSD и 0,15 % для стержней из мягкой стали.
- Для железобетонной стены минимальная вертикальная арматура составляет 0,4% c/s
- В гладкой бетонной стене поперечная сталь не требуется
- В железобетонных стенах поперечная сталь не требуется (не менее 0,4%)
- Максимальное расстояние между стержнями 450 мм или 3 т, в зависимости от того, что меньше
- Толщина стены ни в коем случае не должна быть менее 100мм
- Если толщина больше 200 мм, по обеим сторонам предусмотрено усиление двойной сеткой.
- Горизонтальное армирование аналогично IS456
- Вертикальная арматура не должна превышать 4%
- Когда сжатая сталь составляет более 2% вертикальной арматуры, предоставляется горизонтальная арматура в размере 0,25% для стержней HYSD или 0,3% для стержней MS.
[Согласно IS456, это 0,2% для стержней HYSD и 0,3 % для стержней из мягкой стали]. - Диаметр поперечных стержней (горизонтальных) должен быть не менее 6 мм или . Звенья
- предоставляются, когда сжатие стали превышает 2%. Горизонтальные звенья предусмотрены для толщины менее 220 мм. Диагональные звенья устанавливаются при толщине более 220 мм. Расстояние между звеньями должно быть менее 2 т и диаметр звеньев не менее 6 мм или .
- Оба конца зафиксированы (защищены от вращения и смещения)
- Оба конца шарнирные
- Один конец фиксированный, другой конец
- Один конец фиксированный, другой шарнирный
Минимальная толщина бетонной плиты, балки, колонны, фундамента
🕑 Время считывания: 1 минута
Минимальная толщина бетонной плиты, балки, колонны, фундамента и других элементов конструкции выбирается в соответствии с требованиями проектирования согласно стандартным кодам.
Минимальная толщина бетонных конструктивных элементов согласно ACI 318-14, IRC 2009, IS 456 2000 и UBC 19Представлено 97.
Процесс проектирования включает в себя правильное предположение о размерах структурных элементов, а затем проверку предложенных размеров, чтобы убедиться, что они соответствуют требованиям проекта.
Если надлежащие структурные размеры не предполагаются, то проектирование потребует много времени и значительных усилий, поскольку потребуются существенные испытания, пока не будут определены удовлетворительные размеры.
Поэтому в большинстве норм указаны минимальные размеры и, в частности, толщины практически для всех конструктивных элементов.
Состав:
- 1. Минимальная толщина плит
- 1.1 Минимальная толщина односторонней плиты
- 1.2 Минимальная толщина ребристой плиты
- Толщина плиты с заглубленными трубопроводами и трубами 900M10 1um.
- 1.4 Минимальная толщина диафрагм
- 1.5 Минимальная толщина двусторонней плиты
- 1.
6 Минимальная толщина откидной панели
- 2. Минимальная толщина балок
- 3. Минимальная толщина колонн
- 4. Минимальная толщина стен
- 4.1 Стены подшипников
- 4.2 Внешняя стена подвальной стены и фундаментальную стену
- 5. Минимальная толщина ног
- Очищается на почве
- на свай .
- Гладкое бетонное основание конструкции
- Сплошной фундамент
- 6. Минимальная толщина других бетонных элементов
ACI 318-14 обеспечивает рекомендуемую минимальную толщину односторонней сплошной плиты, как указано в таблице 1, если только не рассчитываются прогибы. Таблица 1 Минимальная толщина односторонней сплошной плиты без учета прогибов
| Минимальная толщина, h | |||
| Просто поддерживается | Один конец сплошной | Оба конца сплошные | Консоль |
| Элементы, не поддерживающие и не прикрепленные к перегородкам или другим конструкциям, которые могут быть повреждены при больших прогибах | |||
| л/20 | л/24 | л/28 | л/10 |
Примечания: Приведенные значения должны использоваться непосредственно для элементов из бетона нормальной массы и арматуры класса 420.
Для других условий значения должны быть изменены следующим образом:
а) Для легкого бетона, имеющего равновесную плотность ( wc) в диапазоне от 1440 до 1840 кг/м3 значения умножаются на (1,65 – 0,0003 wc ) , но не менее 1,09.
b) Для fy , отличного от 420 МПа, значения умножаются на (0,4 + fy /700) .
Рис.1: Толщина одностороннего перекрытия
1.2 Минимальная толщина Ребристая плитаACI 318-14 рекомендует такое же значение для ненапряженных балок, как указано в Таблице 2. Согласно Единым строительным нормам (UBC) минимальная толщина ребристой плиты должна составлять 1/12 расстояния между ребрами или 51 мм.
Рис. 2: Ребристая односторонняя плита
Толщина плиты со встроенными кабелепроводами и трубами- UBC рекомендует, чтобы минимальная толщина плит со встроенными кабелепроводами и трубами была на 25 мм больше, чем общая общая толщина кабелепроводов или труб.

- ACI 318-14 указывает, что кабелепроводы и трубы не должны быть больше по внешнему размеру, чем 1/3 общей толщины плиты, стены или балки, в которую они встроены
UBC рекомендует, чтобы минимальная толщина бетонных плит перекрытий, опирающихся непосредственно на землю, составляла 89 мм, тогда как BGBC4010A — Применение структурных принципов к жилым малоэтажным конструкциям определило, что минимальная толщина составляет 100 мм.
Рис.3: Плита на земле
1,4 Минимальная толщина ДиафрагмыUBC рекомендует бетонную плиту и композитную верхнюю плиту, служащую структурной диафрагмой, используемой для передачи сил землетрясения, толщиной 50 мм.
1,5 Минимальная толщина Двусторонняя плита ACI 318-14 предоставил рекомендации по определению минимальной толщины плит (включая плиты с балками, плоские плиты, плоские плиты), которые можно найти здесь.
Рис.4: Двусторонняя плита
1,6 Минимальная толщина Откидная панельиногда опускают панели, используемые в верхней части колонн, для повышения прочности плит на сдвиг. Минимальная толщина откидных панелей должна составлять четверть толщины плиты за пределами откоса.
2. Минимальная толщина балок- ACI 318-14 предоставляет рекомендуемую минимальную толщину для ненапряженных балок, как указано в Таблице 2, если не рассчитываются прогибы.
- Канадская ассоциация стандартов CSA предоставляет аналогичную таблицу, за исключением одного непрерывного конца, который составляет 1/18.
Таблица 2 Минимальная толщина ненапрягаемой балки без учета прогибов
| Минимальная толщина, h | |||
| Просто поддерживается | Один конец сплошной | Оба конца сплошные | Консоль |
| Элементы, не поддерживающие и не прикрепленные к перегородкам или другим конструкциям, которые могут быть повреждены при больших прогибах | |||
| л/16 | л/18,5 | л/21 | л/8 |
Примечания: Приведенные значения должны использоваться непосредственно для элементов из бетона нормальной массы и арматуры класса 420.
Для других условий значения должны быть изменены следующим образом:
а) Для легкого бетона, имеющего равновесную плотность ( wc) в диапазоне от 1440 до 1840 кг/м3 значения умножаются на (1,65 – 0,0003 wc ) , но не менее 1,09.
b) Для fy , отличного от 420 МПа, значения умножаются на (0,4 + fy /700) .
Глубина балки также может быть оценена на основе отношения пролета к глубине. IS 456 2000 обеспечивает отношение пролета к глубине для управления отклонением балки, как указано в таблице 3. Таблица 3: Отношение пролета к высоте в зависимости от пролета и типа балок, IS 456 2000
| Пролет балки | Балочный тип | Отношение ширины к глубине |
| До 10 м | Просто поддерживается | 20 |
| Консоль | 7 | |
| Непрерывный | 26 | |
| Более 10 м | Просто поддерживается | 20*10/пролет |
| Консоль | — | |
| Непрерывный | 26*10/пролет |
Рис.
4: Толщина железобетонной балки, h
Размеры колонн основаны на требованиях проекта, и для колонн можно выбрать несколько форм, таких как квадратные, прямоугольные, трапециевидные, цилиндрические и другие.
Рис.5: Размеры колонны
4. Минимальная толщина стенок 4.1 Несущие стеныUBC рекомендует минимальную толщину несущей стены 1/25 поддерживаемой высоты или длины, в зависимости от того, что меньше или не меньше 102 мм.
4.2 Наружная стена подвала и фундаментная стена 5. Минимальная толщина фундамента Фундамент на грунтеМинимальная глубина опоры на почву рекомендуется составлять 150 мм.
Фундамент на свае Минимальная глубина заложения сваи рекомендуется 300 мм.
Минимальная толщина фундамента из простого бетона предлагается ACI 318-14 и составляет 200 мм, и такое же значение предлагается UBC. Следует знать, что простое структурное основание не подходит для использования в качестве верхней части свай.
Сплошной фундаментМинимальная толщина ростверка 300 мм.
Рис.7: Толщина основания
6. Минимальная толщина других бетонных элементовТаблица 4: минимальная толщина других элементов конструкции
| Элемент конструкции | Толщина, мм |
| Наконечник ворса | 600 мм |
| Выравнивание бетона под удерживающими жидкость конструкциями | 100 мм |
| Выравнивающий бетон для других железобетонных фундаментов | 75 мм |
| Подземный котлован/резервуар (ниже уровня грунтовых вод) стены и плита | 200 мм |
| Стены и плиты подземной ямы (над уровнем грунтовых вод) | 200 мм |
| Стена парапета | 100 мм |
| Чайджа | 100 мм |
| Стены траншеи для кабелей/труб и фундаментная плита | 125 мм |
| Сборная крышка траншеи | 125 мм |
| Вставная пластина | 12 мм |
| Уголок | 6 мм |
Бетонные подпорные стены — Как строить заливные стены
Пошаговая инструкция заливки бетонных стен
Обновлено 26 июня 2020 г.
Бетонные подпорные стены ценятся за свою прочность и универсальность и требуют точных методов строительства. С этим высоким уровнем техники приходит невероятная универсальность. Подпорные стены из литого бетона можно окрашивать, текстурировать, акцентировать встроенными объектами и многое другое. При правильной установке бетон предлагает гораздо больше возможностей для индивидуальной настройки, чем любой другой материал для подпорных стен.
Вот шаги, которые предпринимает Том Ралстон, владелец компании Tom Ralston Concrete в Санта-Круз, Калифорния, при заливке подпорной стены:
- Встретьтесь с клиентами и определите, какие компоненты им нужны и как будет функционировать помещение.
- Спроектируйте стены — определите форму, размер и расположение.
- Удалите существующие растения, верхний слой почвы и другой мусор, который может мешать строительству, Ральстон называет этот процесс раскопками.
- Разметить и выкопать фундамент.
- Построить формы.

- Добавьте арматуру для усиления, Ralston размещает арматуру через каждые 16 дюймов по центру.
- Залить фундамент и стену. Если стена превышает четыре фута в высоту, фундаменты должны быть залиты отдельно.
- Дайте бетону высохнуть.
- Создавайте деформационные швы через каждые 4-6 футов. (дополнительную информацию о деформационных швах см. ниже)
- Снятие опалубки и установка гидроизоляции и дренажной системы.
- Отделка поверхности стены по желанию.
- Установка патио, ступенек и других элементов ландшафта.
ПРОПОРЦИИ БЕТОННОЙ ПОДПОРНОЙ СТЕНКИ
Правильные пропорции подпорной стены так же важны для ее конструкции, как и ее конструкционная конструкция. Удобные для строительства пропорции облегчают правильную укладку бетона и обеспечивают достаточно места для армирования конструкции.
Какой толщины должна быть бетонная подпорная стена?
В дополнение к основным конструктивным требованиям на размеры стен (как правило, толщину элементов) также влияет требуемый минимальный защитный слой арматуры.
Это может увеличить толщину стены на несколько дюймов и может варьироваться в зависимости от серьезности воздействия, типа почвы, реактивности и т. д.
Как правило, верхняя часть стержня любой монолитной бетонной подпорной стены должна быть не менее 12 дюймов для правильной укладки бетона.
Размер основания бетонной подпорной стены
Глубина основания плиты основания должна быть не менее двух футов. Однако она всегда должна быть ниже линии сезонных заморозков, а в северном климате она часто бывает намного глубже.
Длина плиты основания обычно составляет от 50% до 70% общей высоты стены (от основания до верха стойки).
Для консольных и контрфорсных стен толщина ствола у основания часто составляет около 10% от общей высоты стены, как и толщина фундаментной плиты. Подпорные стены с контрфорсами имеют контрфорсы, расположенные на расстоянии от центра к центру примерно от 30% до 70% от общей высоты стены.
В некоторых случаях в комплект входит шпонка для увеличения сопротивления скольжению.
Фундаментная шпонка обычно является продолжением штока и простирается ниже нижней части основания.
Рекомендуемые товары
Опалубка из булыжника Придайте залитым стенам декоративный вид и текстуру
Микс для вертикальной стены 40-фунтовая сумка
Заглушки для стен Capstone Создавайте закругленные заглушки на новых или существующих стенах
ШВЫ В БЕТОННЫХ СТЕНАХ
Подпорные стены из литого бетона могут быть построены с любым или всеми из следующих швов:
Строительные швы : Это вертикальные или горизонтальные швы, которые используются между двумя последовательными заливками бетона. Ключи используются для увеличения сопротивления сдвигу в месте соединения. Если ключи не используются, поверхность первой заливки очищается и придается шероховатость перед следующей заливкой бетона. Шпонки почти всегда формируются в основании, чтобы придать штоку дополнительное сопротивление скольжению.
Сначала формируется основание, а затем формируется стебель.
Усадочные швы : Это вертикальные швы или канавки, сформированные или прорезанные в стене, которые позволяют бетону усаживаться без заметного вреда. Усадочные швы обычно имеют ширину около 0,25 дюйма и глубину от 1/2 до 3/4 дюйма и располагаются с интервалами, не превышающими 30 футов.
Компенсационные швы : Вертикальные компенсационные швы встроены в стену для учета расширения из-за изменений температуры. Эти швы могут быть заполнены эластичными наполнителями. Смазанные маслом стальные дюбели часто вбивают в стену горизонтально, чтобы связать вместе соседние секции. Деформационные швы должны располагаться с интервалом до 90 футов.
ЧТО ТАКОЕ БОКОВОЕ ДАВЛЕНИЕ НА ЗЕМЛЮ?
Проектирование любой подпорной стены требует знания и понимания силы, создаваемой давлением обратной засыпки на подпорную стену, называемой боковым давлением грунта. Чтобы определить боковое давление грунта, необходимо знать несколько параметров грунта, чтобы квалифицированный инженер мог оценить конкретную конструкцию стены и ее общую устойчивость.
Эти основные параметры почвы включают:
- Вес единицы почвы
- Угол внутреннего трения (для песков)
- Показатели сцепления и пластичности (для глин)
- Расположение грунтовых вод
Когда известно боковое давление грунта, стена проверяется на устойчивость. Сюда входят проверки на опрокидывание стен, скольжение основания и нарушение несущей способности грунта. После определения размера стены каждый элемент стены проверяется на достаточную прочность и определяется стальная арматура.
Одним из наиболее распространенных и явных недостатков подпорных стен является неизбежный наклон, растрескивание и изгиб подпорных стен из кирпича, дерева и бетонных блоков, построенных домовладельцами, благонамеренными строителями и ландшафтными дизайнерами. Эти «проблемы» действительно являются неудачами, поскольку стена не выполнила задачу, для которой она была построена, а именно удержать почву.
Неудачи также ясно демонстрируют отсутствие знаний или дизайна, необходимых для успешного проектирования подпорной стенки.
Понимая, как работает стена и как она может разрушиться, можно спроектировать подпорную конструкцию, которая будет отвечать всем предусмотренным экологическим, структурным и строительным требованиям.
ОБРАТНАЯ ЗАПОЛНЕНИЕ ДРЕНАЖА ПОДПОРНЫХ СТЕН
Одной из областей, которую обычно упускают из виду или, по крайней мере, недооценивают, является необходимость дренажа дождевых и/или грунтовых вод из обратной засыпки. Гидростатическое давление может вызвать или вызвать разрушение подпорной стены или, по крайней мере, повреждение.
Дренаж воды в результате дождя или других влажных условий очень важен для устойчивости подпорной стены. Без надлежащего дренажа засыпка может стать насыщенной, что имеет двойной эффект увеличения давления на стену и уменьшения сопротивления материала засыпки скольжению. Гранулированный материал для обратной засыпки обладает такими преимуществами, как хороший дренаж, легкое уплотнение и повышенное сопротивление скольжению.
В дренажных системах обычно используются дренажные отверстия и дренажные линии.
Они имеют толщину 160 мм, их используют только в возведении малоэтажных зданий.
В процессе установки ЖБИ плит на фундамент, нужно удостовериться в надёжности гидроизоляции.
К стенам плиты стыкуются Г-образным креплением.


[Согласно IS456, это 0,2% для стержней HYSD и 0,3 % для стержней из мягкой стали].
